基于Virtual.Lab.Acoustics的声学材料散射场仿真研究毕业论文
2020-02-18 00:33:53
摘 要
随着人类对海洋的加速探索,水声学技术得到了快速发展,声呐的精确度以及探测距离有了长足的进步,但对水下航行体在航行时的反探测能力和声隐身能力有了更高更严格的要求。计算声学材料的目标强度值可以了解其声隐身能力,目标强度可通过试验测量,但试验受客观条件限制且成本较高,因此通过数值方法研究声学材料的目标强度是研究材料声场的有效途径之一,具有重要的理论价值和工程应用背景。
本文基于声学仿真计算软件Virtual.Lab.Acoustics,通过边界元法理论,分别对无空腔的刚性平板,空腔形式不变的平板以及空腔尺寸环绕平板中心增大的平板进行散射场计算,研究材料的目标强度值,在声场中的散射声压云图,以及声压指向性对三种情况进行了比较,得到各种声学材料的目标强度及散射场特性。
仿真结果表明:空腔形式不变的平板和刚性平板相比目标强度无较大差别,空腔环绕增大式平板的目标强度低于普通平板。在频率较低时,刚性平板,空腔形式不变的平板,空腔环绕增大式平板的指向性主瓣大小无太大变化,在频率较高时,刚性平板,空腔形式不变的平板,空腔环绕增大式平板的指向性主瓣大小成递减顺序。
关键词:Virtual.Lab.Acoustics;声学材料;散射场;目标强度
Abstract
With the accelerated exploration of the ocean,the underwater acoustic technology has been developed rapidly, and the accuracy and detection distance of the Sonar have made great progress. At the same time, the anti-detection ability and acoustic stealth ability of underwater vehicle have higher and stricter requirements. The acoustic stealthy ability can be intuitively understood by calculating the target strength of acoustic materials.The target strength can be measured by test, but the test is limited by objective conditions and the cost is high. Therefore, it is one of the effective ways to study the sound field of acoustic material to study the target intensity of acoustic material by numerical method.The use of acoustic simulation software has important theoretical value and engineering application background.
In this paper, the acoustic simulation software Virtual.Lab.Acoustics, is used to simulate the rigid plate without cavity,the flat plate with constant cavity form and the plate whose cavity size increases around the center of the plate by boundary element method (BEM). Calculation of the scattering field produced by different sound fields, and the scattered sound pressure cloud diagram in space is calculated by the target strength of the material. And the data of sound pressure directivity are studied to analyze the scattering field of each material. The target strength and scattering field characteristics of various acoustic materials are obtained by comparing the three cases, and the results are obtained for all kinds of acoustic materials. The practical application of acoustic materials is of great significance.
The results show that: Compared with the rigid plate, the target strength of the plate with constant cavity form is not different from that of the rigid plate, but the target strength of the plate surrounded by the cavity is lower than that of the ordinary plate. When the frequency is low, the normal plate, the flat plate with the same cavity form, the directional main lobe size of the cavity around the enlarged plate have not changed much, when the frequency is high, the ordinary plate, the cavity form unchanged plate, The directional main lobe size of the cavity around the enlarged plate decreases in order.
Key Words:Virtual.Lab.Acoustics; acoustic material; scattering field; target strengal;
目 录
第1章 绪论 1
1.1 引言 1
1.2 研究背景和意义 1
1.3 研究现状及进展 1
1.3.1 水下隐身材料的研究现状及进展 1
1.3.1.1 夹层吸声 2
1.3.1.2 共振式吸声 2
1.3.2 声学仿真软件Virtual.Lab.Acoustics的使用 2
1.4 本文主要工作 3
第2章 声学理论基础 4
2.1 引言 4
2.2 声波 4
2.3 声学基本量 4
2.3.1 声压及声压级 5
2.3.2 声强 5
2.4 散射场 6
2.4.1 目标强度 6
2.5 声学超材料 6
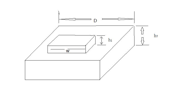
2.6 不同形式平板的设计 7
2.7 本章小结 10
第3章 简单模型建立及仿真计算示例 11
3.1 引言 11
3.2 模型的建立 11
3.2.1 ANSYS 11
3.2.2 以刚性圆球为例说明ANSYS的建模过程 11
3.3 Virtual.Lab.Acoustics的使用和声学边界元理论的介绍 14
3.3.1 声学边界元理论介绍 14
3.3.2 Virtual.Lab.Acoustics 14
3.3.3 计算基本流程 15
3.4 本章小结 18
第4章 声学超材料平板散射特性分析 19
4.1 引言 19
4.2 无空腔分布刚性平板散射特性分析 19
4.2.1 无空腔刚性平板目标强度曲线 20
4.2.2 无空腔刚性平板声压指向性 20
4.2.3 无空腔刚性平板三维声压云图 21
4.3 空腔形式不变的刚性平板散射特性分析 22
4.3.1 空腔形式不变平板的目标强度曲线 22
4.3.2 空腔形式不变平板的声压指向性 23
4.3.3 空腔形式不变平板的三维声压云图 23
4.4 空腔环绕增大式平板散射特性分析 23
4.4.1 空腔环绕增大式平板目标强度曲线 24
4.4.2 空腔环绕增大式平板声压指向性 25
4.4.3 空腔形式不变平板的三维声压云图 25
4.5 目标强度曲线对比 26
4.6 声压指向性对比 27
4.7 三维声压云图对比 28
4.8 本章小结 29
第5章 总结与期望 31
5.1 主要结论 31
5.2 研究展望 31
参考文献 32
致谢 34
第1章 绪论
1.1 引言
近几年,声学超材料由于其特性与常规声材料不同,得到了飞速的发展, 被应用到了许多领域, 如超声成像、水下声学和声呐、建筑声学和吸声材料等。声学超材料的发展,为通过亚波长尺寸的结构控制低频振动和噪声提供了思路。特别是薄膜和薄板类结构,被认为是最具工程应用潜力的。本文基于声学超材料的概念进行设计,研究声学超材料的水下散射场特性,为声学超材料在水下声学应用提供一定的参考价值。
1.2 研究背景和意义
海洋是生命的起源,无论是生态研究还是能源发展,都绕不过对海洋研究和海洋资源的利用,21世纪,各国的可持续发展计划中对海洋所占比重也越来越高,海洋日益受到重视的同时,代表着各国围绕海洋的政治,军事,经济竞争也越来越白热化。在过去的几十年里,科学技术迅猛发展,各国对海洋资源的争夺也进入了前所未有的阶段,沿海国家对制海权的争夺也愈演愈烈。
随着声呐探测技术的不断发展,对水下潜航器的声隐身能力提出了更严苛的要求[1],提高潜航器的声隐身性能,保证其隐蔽性是潜航器技术发展的重点。目前,声呐探测向低频探测,主动探测方向发展,只有通过不断减小潜航体所用声学材料自身的声波散射,才能更好地改善其在水下的隐身性能[2][3]。在过去,人们通过在材料的结构表面覆盖一层吸声材料来提高隐身性能,但是这种方法有较大的局限性,难以进一步提高。为此研究制造新的声隐身材料是当今水声学研究的重点之一。
通过在材料表面设计进行人工结构和排布,可以改变声学材料的声学特性,利用这一方法来研究制造出声隐身能力较强的声学超材料具有重要的现实意义和工程应用价值。
水下声学研究对试验条件要求一般较为苛刻,通常需要满足自由场条件,试验成本高,使用声学仿真软件可以较好的解决这一问题。声学仿真软件可以模拟复杂的现实条件,对所求目标进行计算,得出具有参考意义的结果,极大地减小研究工作量和难度。
1.3 研究现状及进展
1.3.1 水下隐身材料的研究现状及进展
目前,在潜航器声隐身技术中,通常用具有吸声结构的材料对声波进行能量衰减,从而达到声隐身的目的,常用的吸声结构有:夹层吸声,共振式吸声。
1.3.1.1 夹层吸声
夹层吸声结构分为中间层和面板层,中间层由吸声材料填充,面板层由具有良好透射性的纤维增强复合材料构成。声波入射时,较大部分的声波穿过透射性良好的面板层,被吸声性能良好的中间层吸收。这种夹层结构具有的优点较为明显,可用于潜航体的非耐压外壳,不仅能满足强度和刚度要求,同时还具有良好的吸声性能,可以直接简化消声瓦结构的结构设计。
罗涵等[4]将橡胶作为夹芯层,玻璃钢作为面板,采用真空灌注技术,制作了一种夹层复合吸声材料。这种材料提高了材料的冲击韧性和层间强度,研究了通过不同的阻尼层下影响结构整体的结构强度和阻尼特性的因素。
李志宽等[5]对一种蜂窝夹层结构进行了分析计算,采用了三明治夹层板等效理论,对模型进行了等效计算,并应用有限元软件证明了计算的准确性。结果表明:蜂窝胞元半径增大,夹层结构板的吸声能力下降。
1.3.1.2 共振式吸声
共振式吸声结构在均匀吸声材料内部嵌入空腔,高密度的硬质材料和软弹性体,使得空腔的固有频率接近入射波频率,发生共振产生较大变形,从而增加声波传播的损耗来吸收声能。
赵敏兰等[6]建立了含球形空腔的粘弹性材料复合结构物理模型,引入等效参数法分析了结构参数对吸声性能的影响。结果表明,材料厚度和空腔浓度越大,材料的吸声系数就越高。
童振华等[7]以共振式吸声器为原型,优化设计了空调压缩机的气缸消音孔,通过声强测试,改善了压缩机排气时2000Hz-3150Hz频率下的噪音。
1.3.2 声学仿真软件Virtual.Lab.Acoustics的使用
在声学研究中,很多研究工作由于客观条件的限制都无法顺利进行,比如一些极端条件下和研究工作,或是一些考虑到经费原因导致的研究工作难以开展。声学仿真软件很好的解决了这一问题,只需要在计算机上将三维模型网格建立起来并导入声学仿真软件,设置好声学环境,便可以得到所需数据,极大了节省了人力成本和物料成本,具有极高的工程使用价值和重要的现实意义。
Virtual.Lab.Acoustics是美国LMS公司开发的极为优秀的声学仿真软件,LMS公司开创性的将LMS Sysnoise技术融合到LMS Virtual.Lab.Acoustics中去,建立了全球首个端到端的声学仿真环境,通过虚拟模型进行产品的概念生成,设计改进再到试验验证。既能覆盖常规应用如结构声辐射和腔内声场仿真,也提供针对专业声学工程问题的专家解决方案,如发动机声速,流噪声,随机声学等。
1.4 本文主要工作
本文基于Virtual.Lab.Acoustics声学仿真软件研究声学材料的散射场,进行材料的水下声隐身研究。首先使用ANSYS建立三种不同的平板模型和场点模型,将模型导入Virtual.Lab进行声场设置和计算,研究三种不同的声学材料在各种声学条件下目标强度的大小和散射场的不同,并对三种不同的声学材料将得到的数据进行比较,得出声学材料的变化对声学性能的影响关系。文章结构及主要安排如下:
第一章:对本文的研究背景和研究意义进行了说明,对声学仿真软件的使用意义进行了说明,对水下声隐身材料的研究现状和进展进行了综述,确定了本文的研究目的和主要研究方法。
第二章:介绍本文研究所用声学理论知识,并设计三种结构不同的平板。
第三章:深入介绍所用建模软件ANSYS和Virtual.Lab.Acoustics,以最基本的刚性圆球为例,介绍简单目标的三维模型网格建立过程和使用Virtual.Lab.Acoustics进行散射场计算过程,并介绍软件所用声学边界元理论知识。
第四章:在第三章的基础上,使用ANSYS建立三种不同的平板模型和场点模型,导入Virtual.Lab.Acoustics,进行计算前处理,进行声场计算,研究不同平板的散射声场和目标强度,并对不同平板的数据进行对比。
第五章:对本文的主要研究结论进行总结,指出本文的不足和对未来的期望。
- 声学理论基础
2.1 引言
本章介绍本文所用理论知识,为本文提供理论支持,主要介绍了声波,声压,声压级,声强,散射场,目标强度以及声学超材料的相关概念,同时设计了三种空腔分布形式不同的平板。
2.2 声波
当物体受到外界扰动时,物体质点会产生振动,在其平衡位置进行周期性的位移,质点的位移会使相邻质点也开始振动,这种振动状态会在一些时间里逐渐扩散到更远处,这种机械振动由近而远的传播就称为声振动的传播或称为声波[8]。

图2.1 质点A在四个不同时间的位置
当质点振动时,一个质点的振动引起周围质点的振动,质点在不同时间的位置发生变化,其余质点也都在平衡位置附近作类似的振动,只是会依次延后一些时间。
2.3 声学基本量
2.3.1 声压及声压级
质点在平衡位置附近振动时,任一体积元在时间t内流入的质量与流出的质量相等,但在某一瞬时,体积元内流入的质量会多于流出的质量,或流出的质量多于流入的质量,即体积元内的煤质时而稠密时而稀疏,所以声波的传播过程可以理解为体积元内的媒质稀疏和稠密的交替发生过程,在这一过程中,体积元内的质点速度,温度,密度和压强等量发生变化,设体积元受声扰动后压强变化量为ρ,则ρ就称为声压。声压的大小反映了声音的强弱,声压的单位为Pa,1 Pa = 1N/m2。存在声压的空间称为声场:
瞬时声压对时间T取均方根的值称为有效声压pe
(2.1)
从人们讲话的功率到火箭发射的功率,从10-5W到109W,声功率可以相差十几个数量级。对如此广阔的范围,使用对数标度要比绝对标度更加方便,在声学中普遍使用对数标度来度量声压,称为声压级,其单位经常用dB(分贝)表示。
声压级以符号SPL表示,其定义为
(2.2)
其中,pe为待测声压的有效值,pref为参考声压。
2.3.2 声强
介质发生扰动时,介质的声能量随着扰动转移,单位时间内通过垂直于声传播方向的面积S的平均声能量被称为平均声功率,平均声功率
(2.3)
以上是毕业论文大纲或资料介绍,该课题完整毕业论文、开题报告、任务书、程序设计、图纸设计等资料请添加微信获取,微信号:bysjorg。
相关图片展示:









