吸泥管结构对耙头流场的影响毕业论文
2020-02-19 09:05:35
摘 要
耙吸式挖泥船通过耙头进行挖泥作业,而耙头性能的好坏会对耙吸式挖泥船的工作效率及成本产生较大影响,在我国港口及航道的底下土质复杂多变,比较难进行挖掘,如较硬的粘土、细沙一类,对于硬质粘土,耙头工作时还常常会造成堵耙的现象,需要对其进行优化。
本文采用了计算流体力学软件FLUENT对耙头进行数值模拟来分析耙头流场,再通过改变耙吸式挖泥船中吸泥管结构,来研究其对耙头流场产生的影响,探寻了流场中的压强、泥沙流动速度及体积分数还有涡流的变化情况对比得出其中较好的结构,从而对耙头优化,减少堵耙,提高生产效率。研究结果表明:
1.当吸泥管直径处于850-900mm直径时,耙头在此时的结构较好,比较利于泥浆的运输及减少其淤积堵塞;
2.当吸泥管角度处于56°的结构时较好,运输效率最快,减少了壁面对泥浆的阻碍和降低涡流的形成。
本文的特色:通过FLUENT软件进行设置好算法、边界条件等后进行了流体的计算,在计算结果中得到各类云图运用比较分析来判断,再根据随后绘制相应的流场内直线压力、速度等曲线图对上述结论予以验证。
关键词:FLUENT软件;吸泥管结构;耙头流场;对比;云图
Abstract
Trailing suction hopper dredger dredging, through the rake head and drag head performance depends on the trailing suction hopper dredger have great influence the work efficiency and cost, the soil under the port and waterway in China is complicated, difficult, such as a hard clay, sand, for hard clay, rake head work also often cause blocking the phenomenon of harrow, need to be optimized..
This article used the computational fluid dynamics software FLUENT to rake head rake head flow field numerical simulation to analysis, then by changing the trailing suction hopper dredger suction tube structure, to study the impact of the rake head flow field, explore the pressure in the flow field and sediment flow velocity and volume fraction and the change of eddy current compared with good structure, thus to rake head optimization, reduce the blocking harrow, improve production efficiency. The research results show that:
1.When the diameter of the mud suction pipe is 850-900mm, the structure of the rake head within the suction is better, which is more conducive to the transport of mud and reducing its deposition and blockage;
2. When the Angle of suction pipe is 56°, it is better, the transport efficiency is the fastest, which reduces the wall obstruction to mud and reduces the formation of vortex.
Features of this paper: the fluid was calculated by FLUENT software after setting the algorithm and boundary conditions, etc., and various cloud maps were obtained and judged by comparative analysis. Then, the above conclusions are verified by drawing the corresponding curves of linear pressure and velocity in the flow field..
Key words::FLUENT software; mud suction pipe structure; rake head flow field; contrast; cloud picture
目 录
第1章 绪论 1
1.1 课题研究的背景及意义 1
1.2 耙头的发展与类型 1
1.3 耙头结构与工作原理 2
1.4 国内外研究现状 4
1.4.1 国际现状 4
1.4.2 国内现状 4
1.5 研究目的及意义 4
第2章 FLUENT中的数值计算 6
2.1 计算流体力学(CFD)软件的理论知识 6
2.2 FLUENT软件简介 6
2.3 耙头三维建模设置 6
2.4 网格的划分 7
2.5 求解器与物理问题的设置 8
2.6 求解计算 13
第3章 研究吸泥管不同直径下耙头流场变化 15
3.1 对900mmm直径耙头进行分析 15
3.2 由五个直径对比耙头流场的变化 20
3.2.1 纵截面处流场的变化 21
3.2.2 横截面直径处流场变化 25
3.3 本章小结 30
第4章 研究吸泥管两侧不同角度下耙头流场变化 32
4.1 吸管下端横截面截面对比 32
4.1.1对比压力云图变化 33
4.1.2 对比速度云图变化 34
4.1.3 对比泥沙体积分数变化 35
4.2 吸管中部横截面截面对比 36
4.2.1 压力云图变化 36
4.2.2 速度云图变化 37
4.2.3 泥沙体积分数云图 37
4.3 吸管上端横截面对比 39
4.3.1 压力分布云图变化 39
4.3.2 速度分布云图 40
4.3.3体积分布云图变化 40
4.4 本章小结 41
第5章 总结与展望 43
5.1 总结 43
5.2 展望 43
参考文献 44
致 谢 45
第1章 绪论
1.1 课题研究的背景及意义
近年来世界经济处于快速发展的时代,其中海洋事业被大力发展着,港口建设、海洋运输、人工岛兴建等事业在全世界兴起着,这使得世界疏浚市场蓬勃发展。而在这些疏浚行业发展中,离不开挖泥船相关技术发展,挖泥船有着很多类型,而其中耙吸式挖泥船在疏浚行业中有着很多优势,如集挖掘、装载、运送和卸泥功能于一体,不需要另外的设备辅助;能适应恶劣的工作环境并抵御风浪,拥有较高的作业效率和较低成本,伴随着一系列发展改进它的应用范围也有了很大增加,从维护和疏浚海船航道的领域,延伸到了农田水利、港口建设和海防建设等众多领域,这些优势使得耙吸船已渐渐成为航道疏业的主力。
耙吸式挖泥船的特点便是以耙头为其疏浚设备,它安装在耙吸管的下端,通过对泥土的挖掘疏松,并在吸泥泵抽吸入泥浆,随后传输至泥舱内,达到了清淤、疏浚的工作目的。此过程中,耙式挖泥船的工作效率及工作成本与耙头性能息息相关,因此耙头的高新技术发展在国内外都在不断关注发展中。在我国的南海地区耙吸式挖泥船在吹填造陆发挥了至关重要的作用,其中位于我国漫长海岸线上的主要港口与进港航道的底质复杂多变,其中还有一些较难挖掘的土质,如较硬的粘土、细沙一类,对于硬质粘土,耙头工作时常常会造成堵耙的现象,本次课题便是通过研究吸泥管结构的改变对耙头流场的影响来对耙头内流场进行分析,分析其结构对泥浆的运输效率及泥沙堆积堵塞现象的影响,对其结构优化提出建议,为耙头设计提供有价值的参考。
1.2 耙头的发展与类型
耙头的发展过程经历了一段时间,可以将其笼统概括为四个阶段。第一阶段为初始阶段,耙头主要是用吸管以吸作业,只适合用于细软类土质。第二阶段为改进阶段,耙头上增加了耙齿这一构件,除了吸之外此时增加了耙的功能,两者相结合可挖掘的土质得到提高,此时能挖掘细密类土质。第三阶段是提高阶段,此时研发出了高压冲水技术,通过给耙头安装高压冲水管和高压冲水喷嘴后喷射出的高压水极大地提高了耙头破土能力,此时可以挖掘粘性土质。第四阶段为继续提高阶段,这时研发出来可挖掘硬质类土质的主动耙头。整个发展中耙头技术的改进后能解决疏浚过程中越来越高的土质类型,扩大了挖掘范围解决了挖掘难题有效提高了生产率。
在发展中产生了很多的耙头类型,也自然有着很多分类方式如可按拖曳方式分为活动耙头和滚动耙头;按挖掘方式可分为扣压式耙头和插入式耙头等,而目前国内则是根据作业的土质类型对其分类,分为如下四种,且他们的适用特点及范围见下表1.1:
表1.1 耙头系列分类
耙头类型 | 特点 | 适用范围 |
密实沙土耙头 | 第二排可对耙齿进行更换,配备有高压冲水系统、预折角度结构等 | 挖掘N≥30以上的密实土质,如密实砂土、密实粉质粘土等 |
通用型耙头 | 单排可对耙齿更换,耙齿类型较特殊,,配有高压冲水喷嘴(侧壁喷嘴)等 | 挖掘N<30所有类型土质 |
黏土型耙头 | 单排可进行耙头的更换,配有柔性格栅和多排高压冲水喷嘴等 | 挖掘有着较强粘性、不容易分散开的土制 |
重型耙头 | 有着很大重量、可对单排耙齿进行更换,配有多排高压冲水喷嘴等 | 基本用于大型耙吸船工作挖掘超硬土质,如强风化岩等 |
1.3 耙头结构与工作原理
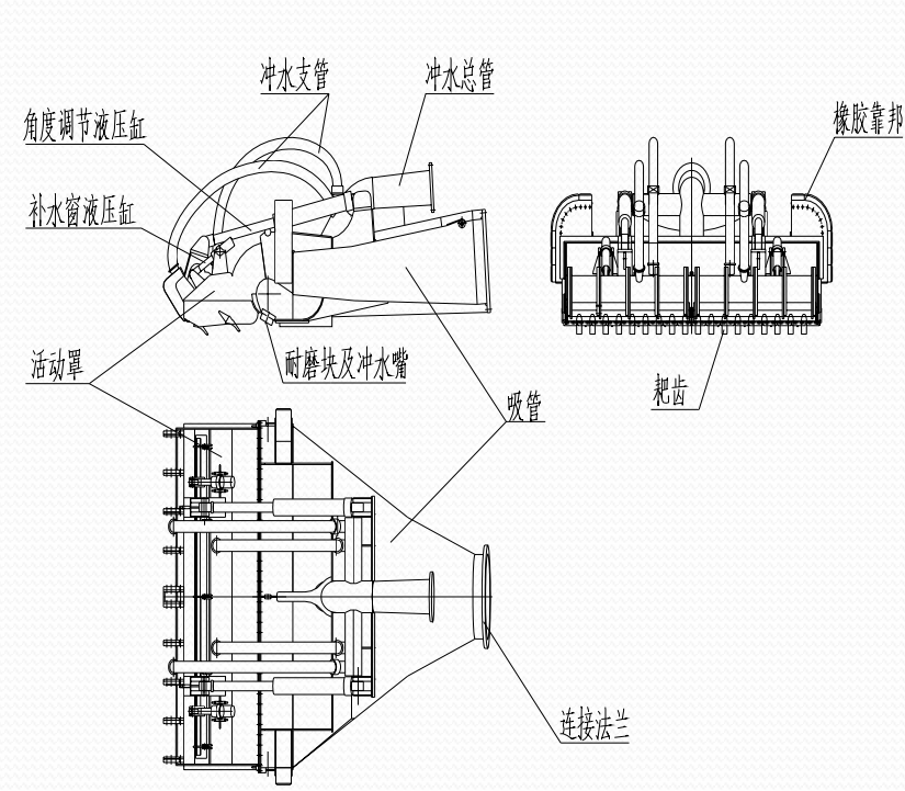
耙头构成如下图1.1图所示,它的组成主要是固定罩壳(吸管)和两个活动罩壳,其中吸管起引流导管的作用,后者主要用来调节角度,两者是用销轴进行连接,活动罩壳能够在固定罩内自由转动一定的角度范围。为了防止连接部位发生泄漏,在活动罩与吸管接合面外部用了橡胶来密封。在吸管的下部装有耐磨块与高压冲水喷嘴,而活动罩则是装在两侧下。吸管为连接耙头和耙吸管的一个方形喇叭状管道,上部设有高压冲水管,高压冲水管里的高压水用来将泥土切割、冲散后进入吸管后进行较好的运输。

图1.1耙头构成图
耙头的结构有活动罩、吸管、耙齿、耙头引窗等。其结构三视图如图1.2所示,各部分作用如下:
(1)活动罩:它的本体为钢制焊接结构,并装有很多与挖掘相关的部件在它里面,,如耙齿、补水窗、高压冲水喷嘴、格栅等,它是耙头用来进行泥土的挖掘、泥土的切割与冲散、泥浆混合输送的结构,并能由它实现挖掘深度的变化。
(2)吸管:其本体也是钢制焊接结构,在吸管上安装有冲水管、法兰、、耐磨块等部件。吸管和活动罩通过销轴相连,当利用液压缸或固定销调整活动罩位置时,吸管上会受挖掘反力的作用,起到支撑并连接的作用,同时在其里面形成的泥浆是通过吸管输送到耙臂管和泥泵里的。
(3)耙齿:耙齿的作用是对水底下的泥沙进行直接挖掘,不同类型的耙齿可针对不同类型的土质挖掘,如铲齿可用来挖掘粘土类土质,凿齿用来挖掘细砂类土质等。

图1.2耙头基本结构三视图
(4)耙头引窗:能对进入耙头内水流量进行补充,从而对泵前真空度进行调节。
(5)格栅:位于活动罩或吸管上,可分为两种,由钢板或钢条制造的是钢性格栅,由钢链制造则为软格栅,它能防止大的泥块或石头进入何堵塞泥泵叶轮。
耙头依据其工作原理的不同分为如下三种方式:
第一种方式是冲刷。工作时由泥泵将吸泥管和耙头内空气抽掉,其内部形成真空,使得内外形成了很大的压力差,随后水流会从耙头与泥沙表面间的空隙流入耙头,又由于水流速度较快,会使泥沙表面压力降低,此时泥沙表面和内部间会有压差存在,此压差会使泥土破碎,从而形成泥水混合物,被吸入耙头内部。对挖掘淤泥类松散土质很有效
第二种方式是高压冲水。由高压水泵系统提供压力水,经管道输送到高压喷嘴处射出,泥土会被高速水柱切割、破碎、冲散,同时泥土颗粒会和水充分混合,形成的混合物再被吸入耙头,输送至泥舱。
第三种方式是机械切削。耙头在受到船舶航行时带来的拖曳力来进行破土切削,类似于耕田犁地的方式,让泥沙疏松与水混成泥浆后再被吸入。
因上述单独的方式只能针对某一类土质扩,且作业效率有限,因而现在耙头的工作方式为三种的有机结合,大大拓宽了可挖掘的土质范围,有效的提高了挖掘效率。
1.4 国内外研究现状
1.4.1 国际现状
目前,国外已对耙头有着较为全面的理论研究,他们利用数学模型、数值分析方法、有限元计算等不同手段来计算并分析不同切削角对粑头的影响。而且美国、比利时、荷兰等国因在疏浚行业起步的较早,各自都有着自己研发的的疏浚仿真系统。
另外因为水下土质类型有的有着较大的区别,各国疏浚公司根据工作环境对耙头进行了专门优化以便有效提高挖泥效率。如比利时有公司为了挖掘硬粘土,研发了带有超高压射流系统的耙头,并有效的减少了耙头的堵塞现象;针对原状石类土质,研发了一套耙头水门由活动罩上液压油缸控制的复杂高压冲水系统的新型耙头。荷兰有公司针对粘土夹砾石的土壤环境,成功研发出了一套具有强劲的高压冲水系统的专用主动耙头,并为了提高耙头的挖掘能力,研制了具有双排高压冲水的主动耙头。通过上述案例可以知道,要想提高耙吸挖泥船的产量,除了对耙头本身方面性能的提高,还必须根据个别疏浚工程中所遇到的特殊土质条件研制专用的耙头,进而实现更好的挖掘作业。
1.4.2 国内现状
我国对疏浚设备研究开展较国外太晚,拥有的自产研发耙头及相关技术较少,主要是以外国先进的仿造设计为主。刚开始时的相关科研单位为数较少,但在后面引起重视后对其领域投入了相关人员和资金研究后也取得了一定的成绩和效果的,如708所与上海航道局共同研究设计了中国自己的耙头,先后分别应用在多艘挖泥船进行挖掘。其中“新海鲸”挖掘的细砂类土质浓度为1.3~ 1.4 t/m³,效果卓越,挖掘密实类土质时其浓度在1.1 t/m³3左右,也有很大提升,而传统加利福尼亚耙头在同一条件下挖掘时只能达到4%的浓度。天航院的研宄人员通过计算后也对耙头的强度及内部流场进行了较好优化,并在多年的研究下开发出三代耙头,并成功应用到天航局的各类工程船舶。708研究所还在以前的双向犁形耙齿基础上改进研发了单向犁形耙齿,实践后针对硬质土的挖掘很有效,挖泥浓度有很显著的提高同时,这类耙齿在外国文献未曾出现。
相信随着相关科研单位进行大量科学研究攻关工作,会取得更好的阶段性成绩和显著的效果,随着疏浚仿真系统更全面的建设我国也能更进一步追赶到国际先进水平
1.5 研究目的及意义
目前国内外对耙头的改良主要是高压冲水的合理利用与改良和耙头切削力的优化等,而我们所研究的课题目的是用FLUENT软件来探寻吸泥管结构对耙头流场的影响,针对其中可以改变的结构来进行讨论它对吸泥管内流场的流速、泥沙体积分数、压强等产生的影响,这方面研究目前国内外还是稀缺的,而吸泥管的结构可改变的方面有很多,如其吸泥管直径大小、吸泥管两边角度的改变等等也比较方便实现,再通过实验研究能有效对比出影响较大的因素选择良好的结构,并能方便经济的改变其结构达成耙头的改良。
第2章 FLUENT中的数值计算
2.1 计算流体力学(CFD)软件的理论知识
本次课题研究的是关于耙头内部流场的分析,但因耙头装置复杂且庞大进行实际实验分析成本较高且周期很长,因此不利于实际实验的研究探索,而随着计算机硬件的高速发展和数值分析理论的发展,高精度模拟得以实现,计算流体动力学(CFD)得以产生,它就是利用计算机进行数值计算和图像显现,能对其中流体流动等物理现象进行系统分析,因此我们选用它便能很好处理耙头内流场的分析。
CFD的模拟是通过用有限数量个离散点上变量值的集合来替代速度场、压力场等在时间、空间上连续场,然后采用离散方法把描述连续流体运动的控制偏微分方程离散成代数方程组,由此建立该流动的数值模型;再根据分析的问题,定义好边界条件及初始条件封闭方程组;随后利用计算机数值计算求解得到该流场场变量参数的数值解。
2.2 FLUENT软件简介
FLUENT是基于有限体积法进行计算的CFD软件,它有着很全面的功能,可模拟绝大多数物理模型,且有能够快速准确的得到CFD分析结果,故是我们课题分析的首选。
FLUENT软件还有着灵活的网格选择,可随情况变化的同时对网格进行改变,很方便灵活,拥有模拟流动,热量传递和化学反应等广泛物理现象的能力,而关于模拟流动的类型如下:
(1)各种外形的二维或三维流动;
(2)可压缩流体和不可压缩流体的流动;
(3)定常流与非定常流;
(4)无粘性流体、层流和湍流;
(5)对流传热,如自然对流和强迫对流;
(6)热传导和对流传热相耦合的传热计算;
(7)辐射热传导计算;
(8)在复杂的表面问题中涉及自由面流动的计算等。
简而言之,FLUENT适用于基本所有情况下的可压缩流动与不可压缩流动,耙头流动是泥浆流体的不可压缩的湍流流动,能很好的用FLUENT软件快速算出有着较好精确度的结果。
2.3 耙头三维建模设置
查阅了耙头相关文献和疏浚领域的耙头尺寸数据后,利用solidworks软件对耙头进行了恰当的三维流场模型,因为课题研究的是吸泥管结构,所以其他结构需要设为不变量,根据资料得知活动罩角度达到最大时,通常该最大值为50°,此时耙头能够挖掘到最深,并当格栅角度在35°的条件下耙头内部流场分布最为明显,有利于查看吸泥管结构变对于耙头流场变化的影响,于是将该耙头的活动罩设为50°格栅设为35°作为内流场分析的模型,如图2.1所示。其中x轴为耙头前后方向,y轴为耙头竖直方向,z轴为耙头左右方向,随后将该模型文件另存为x-t文件然后导入进fluent的geometry中

以上是毕业论文大纲或资料介绍,该课题完整毕业论文、开题报告、任务书、程序设计、图纸设计等资料请添加微信获取,微信号:bysjorg。
相关图片展示:









