多浮体共振式波浪能发电装置的时域模拟研究毕业论文
2020-02-18 00:19:13
摘 要
随着人类社会的发展与进步,能源消耗加剧,能源问题也成为世界范围持续关注的问题,加上环境问题的影响,人们这时注意到了风能、太阳能、海洋能等这些可再生能源上。海洋蕴含着丰富的清洁能源,而波浪能的开发对环境、能源、经济都有重要意义。本文回顾了波能发电的历史与发展现状,并介绍了多种比较常见的波能发电装置的特性。其中主要介绍并分析研究了一种新型多浮体波能发电装置M4。
在ANSYS-AQWA软件中建立了多浮体共振式波能发电装置M4的模型,并对模型采取了多种网格划分进行水动力分析验证网格收敛性。水动力分析所得数据文件导入开源分析软件WEC-Sim中,对多浮体共振式波能发电装置M4的性能进行了分析,主要计算了在规则波中的运动响应及其平均功率。
关键词:多浮体共振式波能发电装置;时域;水动力特性;运动响应;平均功率
Abstract
With the development and progress of human society, energy consumption has been aggravated, and energy problems have become a worldwide issue of continuous concern. Coupled with the impact of environmental problems, people have noticed these renewable energy sources such as wind, solar and ocean energy. The ocean is rich in clean energy, and the development of wave energy is of great significance to the environment, energy and economy. This paper reviews the history and development status of wave power generation and introduces the characteristics of various common wave power generation devices. A multi - float wave generator M4 is introduced and analyzed. The boundary element model of multi-float wave energy converter is built in ANSYS software, and the model is divided into several grids to verify the convergence of the grid. After the model is established, the data file is run for subsequent simulation analysis. With the help of numerical analysis software MATLAB, the hydrodynamic characteristics of M4, a multi-float wave-energy power generation device, were analyzed, and the motion response and power analysis of a single multi-float wave-energy generation device in regular waves were calculated.
Key Words: multi-float resonant wave energy convertor; time domain; hydrodynamic characteristic; motions; average power
目 录
第1章 绪论 1
1.1课题研究背景及研究意义 1
1.2 浮子式发电装置的国内外发展状况 3
1.2.1波能发电装置的分类 3
1.2.2 浮子式发电装置介绍 5
1.2.3 国外振荡浮子式技术的研究状况 7
1.2.4 国内波能发电的发展状况 8
1.3 研究内容及研究目标 10
1.3.1 研究内容 10
1.3.2 研究目标 11
第2章 基本理论 12
2.1 规则波的描述 12
2.2 应用软件的介绍 13
2.2.1 AQWA软件简介 13
2.2.2 WEC-Sim软件简介 14
2.3计算分析流程 14
第3章 M4多浮体波能发电装置的水动力分析 16
3.1 相似法则 16
3.2 实验设置及数据分析 17
3.3 多浮体波能发电装置所受的水平激振力 19
3.3.1网格的收敛性测试 19
3.3.2 多浮体存在时的耦合作用 21
3.3.3 波浪方向对装置所受激振力的影响 23
第4章 波能发电装置在规则波中的效率分析 25
4.1波能发电装置的瞬时功率 25
4.2波能发电装置的平均功率 26
4.3 PTO参数对发电功率的影响 26
第5章 结论与展望 28
5.1 结论 28
5.2 展望 28
参考文献 29
致 谢 31
第1章 绪论
1.1课题研究背景及研究意义
现代社会以来,随经济等不断发展和进步,自然资源如煤炭石油也随着开发在日益减少,这时候人们意识到了一个严重的问题——能源不是取之不尽的,这样下去自然资源并不能支持后代的利用。为了解决这个问题,人们开始关注可再生能源。 每个国家都开始对风能,太阳能,海洋能和其他可再生能源进行勘探和研究。近代社会以来,人们也意识到传统能源的一些缺点,首先是其储备量问题,根据能源需求预测,未来10年,中国至少需要40亿吨煤。如果我们充分开发煤炭资源,大力实施节能减排政策,中国仍将有5亿至6亿吨的煤炭需求缺口。其次是其环境污染问题,煤炭等化石能源在利用后会产生二氧化碳等对环境有很大影响的气体,其对温室效应和一些恶劣环境有很大推动作用。
目前,中国由于人口和经济发展等因素,在不断加剧着能源的消耗,能源的生产消费量已经跃居世界第二位。能源需求不断扩大,能源问题有待解决。未来15年内,我国将继续面临能源的快速消耗以及需求的持续增长的问题[1]。当今世界发展清洁能源,降低碳排放的大趋势下,我国政府向世界宣布了控制温室气体排放的目标,且将其作为约束性指标列入了经济与社会的长期发展规划之中。
在人类对可再生能源的需求方面,海洋是未来的重要替代资源。 海洋覆盖了地球表面积的70.8%,并含有丰富的清洁和可再生能源。 海洋可再生能源称为海洋能,包括潮汐能,潮汐能(或洋流能),波浪能,温差能和盐差能[2]。海洋能源的开发利用可以促进中国能源结构调整,减轻其他能源利用压力,促进环境的保护改善,加快社会可持续发展和经济发展。
开发利用可再生能源在世界范围内都已经成为一个焦点的可以发展利用的技术。海洋能的利用主要通过利用可再生的潮汐、波浪、海洋温差和海流来进行发电的能量转换的清洁能源技术,来获取人类社会发展中所需要的能源。
波浪能从根本上是由太阳的能量转换而成的,太阳的光线照射海水,使其得到不均匀的受热,再加以地壳的冷却以及地球的自转,从而形成了风,风吹过海水表面形成了波浪,因而可以说波浪产生的能量是与之前转化前风的速度有比例关系的。波浪的起伏运动来带动海水的运动,发电主要是利用这种运动使工作流体流过原动机,以此来实现发电[3]。
图1-1是世界上波能密度的分布图。 世界上可以提供经济利用的波浪能的量约为1至10亿千瓦,而中国的波浪能储量理论上约为7000万千瓦[4],可以看出我国蕴含的可开发的能源还很多。但我国的波浪能功率密度较世界各海岸的平均20~50kW/m高出大约30kW/m,世界范围内较高的海岸地区的波浪能功率密度可以达到和中国海域密度相似的60~80kW/m。但是和其他国家比较,我国的波能利用也有一定局限性,要求的波能发电装置的单个装置体积更大,造价较高,发电效率也更低,这无疑会加大我国波能发电装置的开发难度。结合我国的自然海洋环境,研究适合我国的波能发电装置,也是我国研究波浪能发电过程上的一个难题。
图1-1 世界范围内波浪能密度分布图
对于我国而言,波能发电技术可以为海上平台和岛屿的供电问题提供良好的解决方案,其开发有良好前景和意义,可弥补传统能源的短缺问题以及能够应对环境问题,且我国波浪能十分丰富,也对经济长远发展有着重要意义。分析多浮体共振式波浪能发电装置的水动力特性和转换效率,研究各类参数对转换效率的影响,对这一装置的设计及改良制造,以得到更高效可靠,实用性更强的装置有着一定的参考意义。
1.2 浮子式发电装置的国内外发展状况
1.2.1波能发电装置的分类
- 振荡水柱式波浪能装置
振荡水柱式波浪能装置利用一个与海水接触的密闭空间,波浪运动导致水位变化,引起其压强的变化,进一步使发电机进行转动。振荡水柱式波浪能转换装置由波浪运动驱动,使水柱上升,进而压缩腔体内的空气,产生来回的气流 ,推动空气涡轮机来达到发电的效果。
图1-2 振荡水柱式波能发电装置示意图
(2)摆式波浪能转换装置
波浪垂直地作用在摆动板上,摆板围绕摆动轴摆动,驱动传动系统的活塞杆移动,然后将摆动板捕获的波浪能转换成传动系统的机械能,再转为电能的装置。
图1-3 浮力摆式波能发电装置
(3)聚波水库式波浪转换装置
在海边的一侧有宽开口,逐渐通过一个收缩的波浪通道进入水库,波高在不断上升,直到漫出后面的边界墙体,是将波浪能转化为势能,再转为电能的过程
图1-4 聚波水库式波能发电装置示意图
(4)振荡浮子式波浪转换装置
振荡浮子式一般是在海水中的浮体接触海水,在波浪运动带动其运动下,将其自身的机械能转化为电能 。
图1-5 振荡浮子式波能发电装置示意图
(5)鸭式波能转换装置
鸭式装置是一种形状特殊的鸭体绕轴往复旋转做功的波浪能装置。转换率高,但装置复杂成本高。
图1-6 鸭式波能转换装置示意图
(6)筏式波浪能装置
筏式能量转换装置由筏式浮体,铰链和一个液压系统组成。筏式波浪能量转换装置沿波浪方向排列,筏体随着波浪运动而移动,将波浪能转换为筏体的机械能,进而转化为电能[5]。
图1-7 筏式波能转换装置示意图
1.2.2 浮子式发电装置介绍
振荡浮子式发电装置的发展已经相对成熟,是最多类型的装置,其特点是能量吸收的过程是通过活动、可以随着波浪波动的浮体,装置在发电时,波浪驱动浮体运动产生机械能,然后发动机或内部的液压设备将机械能转换为其他能量的能量转换过程[6]。
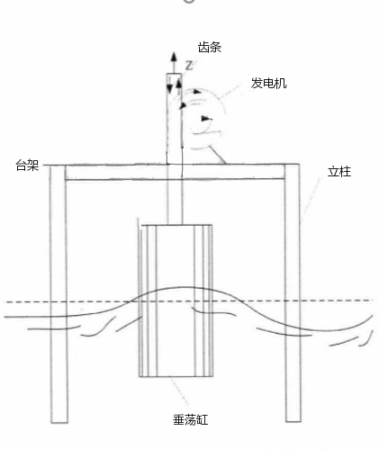
浮子式发电装置的主要吸收能量运动方式是其垂荡、摆动、多浮体的其他运动方式进行机械能的转化,如图1-8所示为一种振荡浮子式波能发电装置的原理图,其转化原理为通过一个垂荡在海水中的垂荡缸式浮子,波浪带动其进行垂荡运动,然后上部的链轮将其垂荡运动产生的机械能传递到发电机,通过发电机转化为电能[7]。

图1-8 一种振荡浮子式波能发电装置的原理示意图
浮子式波能发电装置通常情况为两个过程组成,第一部分将浮体通过与波浪接触产生的运动来吸收能量,转化为机械能,这部分称为波能吸收系统。第二部分是将浮体吸收能量转化的机械能通过轮机、直线电机或液压系统转化成为电能,这部分称为能量转换系统。转换过程如图1-9所示。
图1-9 浮子式波能发电装置的波能转换过程
1.2.3 国外振荡浮子式技术的研究状况
虽然波浪能的开发技术还比较复杂,而且成本较高、投资回收期长,但在近200年里,世界各国,如英国、日本、挪威、美国、法国和中国等国家投入了很大的成本及资源进行探索研究。而且上述国家都已经建成了多个数十至数百瓦的波能发电装置试验装置。
下面分各种类型介绍国外的振荡浮子式波能发电技术的研究历史:
(1)单体式垂荡装置
日本于1980年研制出了G-1T装置,其特点为由一个固定在防波堤的钢结构上的作垂荡的楔形浮体和一个带有充气蓄能器的液压油缸构成[8]。
挪威发明了浮标式波能发电装置,构成为一球形浮子与一个空气轮机组成,特点为实现了相位的控制,并于1983年进行了海试[9]。
丹麦于1990年研制出一种装置,其采取了活塞泵和液压马达来做能量的转换。
Teamwork Technology BV研制出的阿基米德波能发电装置(AWS),是首个以直线发动机为能量转换的装置[10]。
瑞典乌普萨拉大学(Uppsala University)研发制造了L9装置,其浮子为扁柱形,通过直线电机来进行能量转换。
美国俄勒冈州立大学(Oregon State University)之后发明了L10装置,由一个大部分在水中的细长立柱与一个碟状浮子进行相对运动,带动发电机进行能量的吸收与转换。
(2)双体式垂荡装置
Sven A. Noren进行发明,并由瑞典Interproject Service公司生产制造了IPS装置,其主体是一个与浮子连接的细长立管,浮子运动带动活塞运动使管内产生高压液体,从而进行发电[11]。
之后,爱尔兰发明了Wave Bob装置,由两个刚性连接的柱状浮子组成,其做到了可控制频率尽量与入射波频率匹配,提高了吸收的效率。
Ocean Power Technologies 公司研究出了波能浮标装置(Power Buoy),由一圆盘形浮子与一根细长立柱组成,立柱的底部装有盘状阻尼板,来抑制立柱的振动。
(3)摆动式振荡浮子装置
在二十世纪七八十年代,英国爱丁堡大学(The University of Edinburgh)的Stephen Salter教授研制了点头鸭装置(Nodding Duck),是第一个摆动装置,近些年来很多国家在其基础上对其研究改进,其浮体为凸轮形,但原型样机却未能海试成功
英国兰卡斯特大学(Lancaster University)研制了PS Frog MK 5装置,是一种经典的双体式摆动装置,底部为一个压载的浆形浮体。
英国发明制造了一个蚌式装置(Oyster),浮体的形状呈翼片状,一边连接在海底固定的一个轴上,另一边摆动,其大多布置在近海。浮体活动范围达180°,能量输出装置为PELTON空气透平
英国在2004年发明了海蛇装置(Pelamis),特点为单体装机容量最高,主体是四个首尾铰接的圆柱形浮体,通过重力锚固定海底,依次排列。
(4)组合式振荡浮子式装置
FO3结构主要由21个作振荡的圆柱形浮体及固定浮体用的一个平台组成的,进行能量输出主要通过平台上液压装置。
2006年丹麦研发的Wave star装置由两个并排排列且间距很小的浮体和框架结构组成。
1.2.4 国内波能发电的发展状况
中国波浪能的发展始于20世纪70年代,相对较晚。 1975年,中国开始初步探索波浪发电技术。上海机电局首先生产出装机容量为1kW的波浪发电装置。之后10年内,我国研制了很多自用以及出口的为航标灯供应电力的产品。同时,还开发了20kW基岸发电装置,5kW点吸收发电装置和8kW筏式发电装置。中国科学院广州能源研究所于1989年在珠海建立了一座3kW振荡水柱式波浪电站,并于2000年在广东投入使用一座100kW的基岸电站[12]。
最近几年内,尤其在2010年后国家的财政局及国家海洋局的支持下,我国的波能利用技术得到了迅猛发展。国家也设立了第一个海洋能源的利用支持计划——海洋可再生能源专项资金。在此支持下,许多有能力的科研所以及企业开始进行海洋能利用技术的开发。国家海洋技术中心也进行研发制造了摆式波能发电装置[13]。
从图1-10和图1-11可以看出,我国2010年以来可再生能源的发电装机容量与发电量也在稳步上升着,近三年来也在进行开发着“南海兆瓦级波浪能示范程建设”等项目。
图1-10 2010至2017年我国可再生能源的发电量
图1-11 2010至2017年可再生能源的发电装机容量
1.3 研究内容及研究目标
1.3.1 研究内容
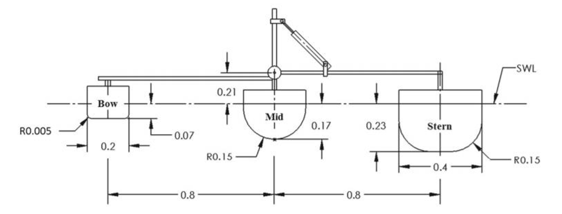
波能转换装置最具挑战性的技术问题是如何以可以接受的成本设计高性能的波能设备。英国曼彻斯特大学 Peter Stansby 教授带领的团队进行研发了一种多浮体共振式波能转换装置M4(如图1-12所示),它可以从浮体之间的各种相对运动模式(纵荡,垂荡和横摇)中提取波浪能,并能够自动与波浪的方向对齐(需要水平纵轴和平均波浪方向之间的夹角足够小时)。作为浮动系泊系统,与由固定结构组成的系统相比,M4比较易于布置和维护。 M4装置的单个铰链连接在“浮体2”的顶部上方。2013 年至 2016 年研究人员进行了一系列模型试验,测试了 M4 在规则波和不规则波中的转换效率。如图,M4 由三个浮子(浮子 1、浮子 2 和浮子 3)构成,浮子 1 和浮子 2 之间有一根杆,杆两端分别与浮子固接。浮子 2 与浮子 3 之间也有一根杆,与浮子 3 之间刚性连接,与浮子 2 之间铰接,在波浪作用下,浮子1、2与浮子3之间会产生相对转动。波浪能动力输出系统(PTO)由一个铰、两根梁和一个柱形液压装置组成。整个装置采用单锚系泊方式系于海上,对波向的适应性较好。该装置不同尺度的浮体对应于不同的自振频率,可较好地利用共振原理,吸收海上不同频率的波浪,因此其捕捉波能频域较宽[14]。优化浮子几何形状来减少粘性效应所造成的能量损失,最后得到几何形状如图1-12所示。为了更好地理解M4的水动力特性并评估水动力相互作用对性能的影响,本文使用数值工具AQWA以及WEC-Sim软件对其进行了研究。

以上是毕业论文大纲或资料介绍,该课题完整毕业论文、开题报告、任务书、程序设计、图纸设计等资料请添加微信获取,微信号:bysjorg。
相关图片展示:









